Výhodnější nabídku než u nás nenajdete.
Našli jste nižší cenu? Klikněte zde a dáme Vám slevu!
14 225 Kč 14 225 Kč 11 756 Kč bez DPH
Tento produkt v poslední době nakoupilo 1 zákazník.
Pohon podporuje wi-fi rozhraní, pro více informací nás kontaktujte.
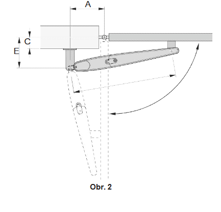
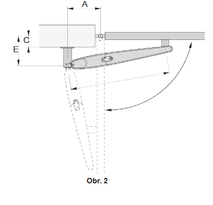
JetKit24 XL 1K - sada pohonu pro jednokřídlou bránu do 6 m šířky křídla a až do 750 kg hmostnosti křídla (závisí na délce křídla). Jedná se o kvalitní pohon výrobce pohonů s dlouhodobou zkušeností ve výrobě pohonů pro brány a vrata. Tělo pohonu je vyrobeno z kvalitních materiálů, které zajistí maximální životnost pohonu ve všech klimatických podmínkách. Pohon se vyznačuje tichým chodem, spolehlivostí a snadnou instalací. Jedná se o kvalitní pohon s jednoduchou, ale přitom robustní konstrukcí. Výrobce pohonů King Gates se vyznačuje dlouholetou tradicí ve výrobě pohonů a zakládá na kvalitě, ale také funkčnosti svých výrobků. Výhodou sady pohonu Jet je kvalitní a precizní provedení převodů, viz. obrázek níže. Nastavení síly pohonu lze regulovat plynule nastavením v řídící jednotce. Samozřejmostí je částečné otevření brány - průchod pro pěší. Další skvělou funkcí řídící jednotky v této třídě pohonů je možnost připojení elektrického zámku do řídící jednotky. Plynule lze také nastavit čas automatického zavírání (od 1s do 125s).
Pohon lze také použít pro otevírání brány směrem ven. Všechny díly v převodovce jsou železné.
Vhodná náhrada pohonu MobyKit (MOBYKCE).
Sada pohonu JetKit24 XL 1K obsahuje:
Termín dodání: ihned, zboží je trvale skladem
Dopravné a balné: zdarma po celé ČR
Záruční doba: 24 měsíců
Více informací o pohonu:
Kit pohonu Jet pro křídlové brány o hmotnosti až do 750 kg. Pohony mají mechanické koncové spínače. Sada obsahuje řídící jednotku se zásuvným přijímačem pro snadnější zapojení a nastavení pohonu. Pro ovládání pohonu lze použít dálkové ovladače od firmy King Gates označené Stylo4. Pohon lze ovládat (zavírat i otevírat) libovolným tlačítkem, případně jakýmkoliv bezpotenciálovým kontaktem např. relé. Sada JetKit24XL lze zálohovat baterií. JetKit24XL je pro bránu až do 6m šířky (záleží na délce křídla a výplni).
Technické parametry:
Instalační návody k pohonu JetKit24 XL a řídící jednotce Star 224 (česky):
Instalační návod k pohonu JetKit24 XL ke stažení ve formátu pdf
| Kód | JETKIT24XL1K |
|---|---|
| Výrobce produktu | KingGates |
| Možnost napájení fotovoltaickým panelem | ANO |
| IoT - Internet věcí | ANO |
| Pro křídlo brány až do šířky | 6 m |
| Zálohovatelné baterií | ANO |
| Dvoukřídlá / jednokřídlá brána | Jednokřídlá brána |
| Typ motoru | 24 V |
| Integrované dorazy v pohonu | mechanický doraz při otevření i zavření |
| Pro křídlo brány do hmotnosti | 750 kg |
| Pohon vhodný pro otevírání brány směrem ven | ANO |
| Silný pohon vhodný do větrných oblastí | ANO |
Pohony křídlových bran Pohony pro jednokřídlé brány Velké jednokřídlé brány nad 4 m
Všechny pohony Pohony křídlových bran Jednokřídlá brána Velké nad 4 m
Specialista na brány a závory
Potřebujete poradit? Jsem tu pro Vás.
Po přihlášení můžete získat nákupem tohoto produktu až 284 bodů do bonusového programu.
❓ Věděli jste, že s každým svým nákupem zároveň ušetříte pro ten další? Vážíme si přízně našich zákazníků, a proto jsme pro vás připravili speciální BONUS program jako poděkování za věrnost.
✅ Stačí, když se zaregistrujete, nakoupíte, a poté se celková částka automaticky převede na body v poměru 50 Kč = 1 bod.
✅ Nasbírané body pak můžeme vyměnit buď za slevový kupón nebo za ně rovnou nakoupit produkty.
Chcete využít nabídky BONUS programu a zjistit podrobnosti? Klikněte tady.
[obfuscate_1_|106|106|96|103|103|113|97|58|92|116|107|107|95|103|109|121|40|94|116]
Po-Pá | 8:00-16:30

Jste firma nebo živnostník a chtěli byste nakupovat ještě výhodněji? Právě pro vás je určený náš partnerský B2B program. Bližší informace naleznete zde.